3 建筑面积与高度
3.1 建筑面积
建筑面积计算是维护社会公平正义、保障公众权益和公众利益的重要内容,故本节对建筑面积的计算进行了原则性规定。
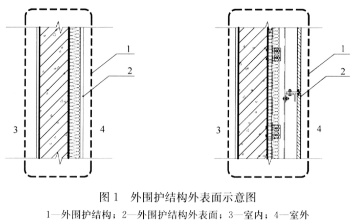
3. 1. 1 本条对面积计算的界面作出了规定。条文中的“每个自然层”为非单层建筑时,建筑面积应为建筑各自然层面积的总和;“楼(地)面处”是指楼(地)面的设计完成面,对于没有结构楼板的地面,应为混凝土垫层顶面;“外围护结构”是指外墙,包括作为外围护结构的玻璃幕墙、金属幕墙、石材幕墙、人造板材幕墙等;“外表面”是指外围护结构的设计完成面,建筑外围护结构一般由墙体、保温层、饰面层组成,设计完成面即装饰面层外边线;当幕墙作为外围护结构时,“外表面”为幕墙面板外边线(见图1)。

3. 1. 3 本条对地上、地下建筑面积的划分作出了规定。
室外设计地坪以上的建筑空间,其建筑面积应计入地上建筑面积,室外设计地坪以下的建筑空间,其建筑面积应计入地下建筑面积。
当室外设计地坪位于建筑空间的中间时,若该建筑空间的楼(地)面低于室外设计地坪的高度大于该空间建筑层高的1/2,应计入地下建筑面积;若其楼(地)面低于室外设计地坪的高度小于或等于该空间建筑层高的1/2,则计入地上建筑面积。
对于室外设计地坪为坡地的情况,建筑空间的楼(地)面低于室外设计地坪的高度应以平均高度计算。
3. 1. 4 为了满足公众权益和公众利益,本条按照建筑空间的基本特征对建筑面积的计算作出了原则规定。计算面积的前提条件有以下三点:一是永久性结构的建筑空间,此永久性结构是相对临时性结构而言,即不包括临时房屋、活动房屋、简易房屋;二是要有永久性顶盖,不包括临时搭建的各类顶盖,如临时性遮阳篷等;三是结构层高或斜面结构板顶高度在2.20m及以上(见图2)的建筑空间。

1 本款包括:建筑外围护结构以内的各类使用空间及局部楼层;地下室、半地下室及其相应出入口;与室内相通的变形缝;建筑内的设备层、管道层、避难层;立体书库、立体仓库、立体车库;水箱间、电梯机房;门厅、大厅及门厅、大厅内的回廊;封闭的通廊、挑廊、连廊,封闭架空通道;有顶盖的采光井;室内有围护设施的悬挑看台、舞台灯控室、室内场馆看台下部空间;附属在建筑物外墙的落地橱窗等。但不包括有永久性顶盖,有围护结构、均布荷载不大于0.5kN/m2,且点荷载不大于1kN的室内非上人顶盖,如展览、机场等建筑中的房中房顶部。
建筑内的楼梯(间)、电梯井、提物井、管道井、通风排气竖井、烟道应按建筑自然层计算建筑面积。
2 本款包括:由墙、柱围合的雨篷、车棚、货棚、站台、有顶盖平台、有顶盖空中花园;门廊、门斗;室外楼梯;地下车库出入口;室外场馆看台下部空间;有柱的室外连廊;建筑物架空层及吊脚架空层;结构转换层等。
3 本款包括:由单排柱或独立柱支撑的室外连廊、车棚、货棚、站台、室外场馆看台雨篷、单排柱或独立柱支撑的室外楼梯等。
4 本款包括:无柱的室外挑廊、连廊、檐廊;出挑的无柱室外楼梯;出挑的有顶盖空中花园等,不包含无柱雨篷。
3. 1. 5 本条依据阳台的基本定义,规定了阳台面积的计算原则。
3. 1. 6 不计算建筑面积的空间与部位:
1 结构层高或斜面结构板顶高度小于2.20m的建筑空间:层高小于2.20m的设备管道夹层、结构板顶高度小于2.20m的坡屋顶等。
2 无顶盖的建筑空间:室外平台、室外挑台、露台、室外游泳池、室外台阶、坡道、建筑屋面、屋顶花园、花架;无顶盖架空通廊;各种操作平台、上料平台、设备平台。
3 附属在建筑外围护结构的构(配)件,指附属在外围护结构的装饰、遮阳、设备平台等构(配)件,如:附属在外墙的装饰柱、门窗线脚、勒脚、突出墙面的装饰线条、空调机板、遮阳板、建筑挑檐、无柱雨篷等非建筑外围护结构系统的构(配)件(见图3)。

4 建筑出挑部分的下部空间(见图4)。

5 建筑物中用作城市街巷通行的公共交通空间:骑楼、建筑的过街通道等。
6 独立于建筑物之外的各类构筑物:烟筒、水塔、水(油)罐、栈桥、储仓、储油(水)池等。
3. 1. 7~ 3. 1. 9 规定了功能空间使用面积、功能单元使用面积、功能单元建筑面积的计算方法,强调计算功能单元本身的使用面积和建筑面积,不包含功能单元之外的公共门厅、公共走道、公共楼梯等的面积。
功能空间使用面积:即房间净面积,这里“墙体内表面”是指围合功能空间的墙体基层表面,不包含墙体饰面层(图5)。

功能空间是组成功能单元的最小元素,如:对于住宅建筑,功能空间使用面积即为住宅内某独立空间,卧室、客厅、厨房或卫生间的使用面积。
功能单元使用面积:为各功能空间使用面积之和。如:对于住宅建筑,功能单元使用面积即为住宅套内使用面积,其面积为套内卧室、起居室、过厅、过道、厨房、卫生间、厕所、储藏室、壁柜等功能空间使用面积的总和。
功能单元建筑面积:为功能单元使用面积、功能单元墙体面积、功能单元阳台面积及为本功能单元服务的烟囱、通风道、管道井面积之和。其中,功能单元墙体面积为功能单元各功能空间周围的围护或承重墙体,或其他承重支撑体的水平投影面积。其中,功能单元之间的分隔墙和功能单元与公共建筑空间的分隔墙等公共墙,按其水平投影面积的一半计入功能单元墙体面积;外墙(包括山墙)按其水平投影面积计入功能单元墙体面积。功能单元阳台面积按围护设施外表面所围空间水平投影面积的1/2计算面积,当阳台封闭时,应按其外围护结构外表面所围空间的水平投影面积计算全面积。